No products in the cart.
01 - COVER SHEET
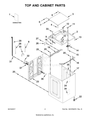
02 - TOP AND CABINET PARTS
03 - CONSOLE AND DISPENSER PARTS
04 - MOTOR, BASKET AND TUB PARTS
05 - PUMP PARTS
06 - OPTIONAL PARTS (NOT INCLUDED)