No products in the cart.
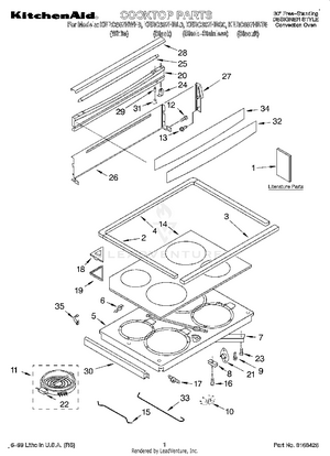
01 - COOKTOP, LITERATURE
02 - DOOR AND DRAWER
03 - OVEN CHASSIS
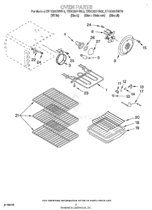
04 - OVEN
05 - REAR CHASSIS
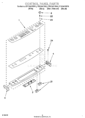
06 - CONTROL PANEL
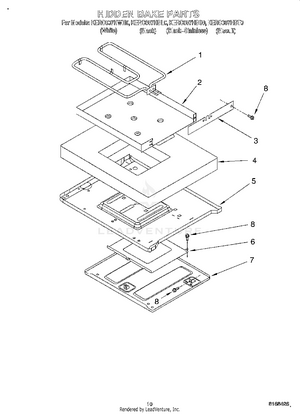
07 - HIDDEN BAKE