No products in the cart.
01 - OVEN PARTS
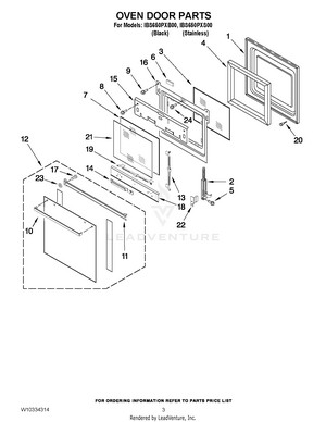
02 - OVEN DOOR PARTS
03 - INTERNAL OVEN PARTS
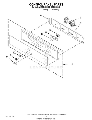
04 - CONTROL PANEL PARTS
05 - TOP VENTING PARTS
06 - OPTIONAL PARTS