No products in the cart.
01 - BODY
02 - CONTROL PANEL/TOP ASSEMBLY
03 - DOOR/DRAWER
04 - GAS CONTROLS
05 - OVEN/BASE
06 - SUPPLEMENTAL INFORMATION
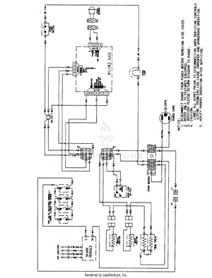
07 - WIRING INFORMATION