No products in the cart.
02 - BACKGUARD AND MAIN TOP
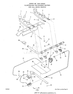
03 - BURNER
04 - BODY
05 - OVEN DOOR
06 - ROTISSERIE KIT, GRIDDLE