No products in the cart.
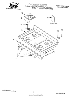
01 - COOKTOP, LITERATURE
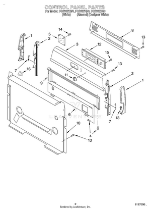
02 - CONTROL PANEL
03 - MANIFOLD
04 - CHASSIS
05 - BROILER
06 - DOOR, OPTIONAL