No products in the cart.
02 - BACKGUARD
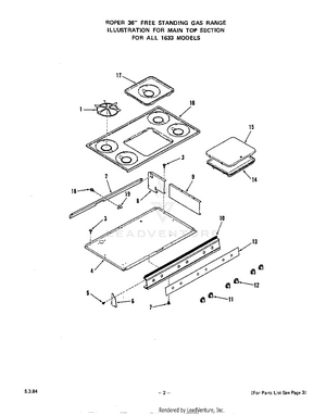
03 - MAIN TOP
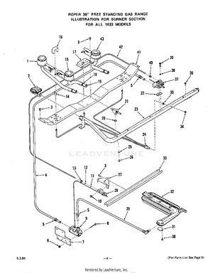
04 - BURNER
05 - BODY
06 - OVEN DOOR
07 - WIRING DIAGRAM