No products in the cart.
02 - CONTROL PANEL
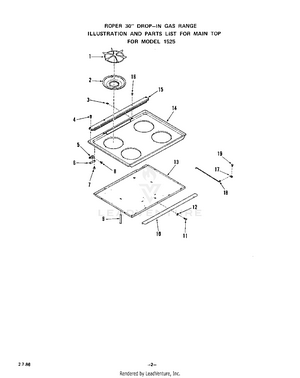
03 - MAINTOP
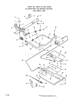
04 - BURNER
05 - BODY
06 - OVEN DOOR, LIT/OPTIONAL
07 - WIRING DIAGRAM