No products in the cart.
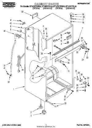
01 - CABINET
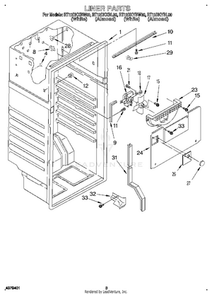
02 - LINER
03 - COMPARTMENT SEPARATOR
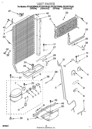
04 - UNIT
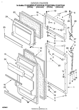
05 - DOOR, LIT/OPTIONAL
06 - SHELF