No products in the cart.
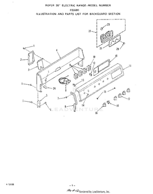
02 - BACKGUARD
03 - MAIN
04 - BODY
05 - OVEN DOOR
06 - WIRE HARNESSES AND COMPONENTS , LIT
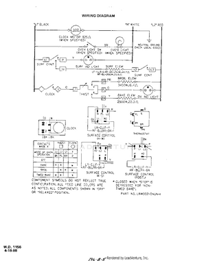
07 - WIRING DIAGRAM