No products in the cart.
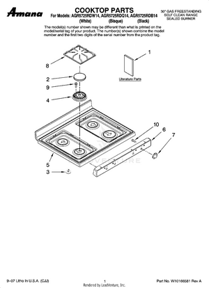
01 - COOKTOP PARTS
02 - CONTROL PANEL PARTS
03 - CHASSIS PARTS
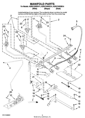
04 - MANIFOLD PARTS
05 - DOOR PARTS
06 - DRAWER AND RACK PARTS, OPTIONAL PARTS (NOT INCLUDED)