No products in the cart.
01 - FREEZER COMPARTMENT
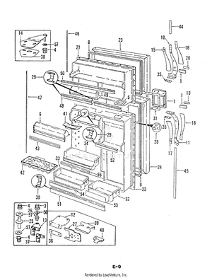
02 - FRESH FOOD & FREEZER DOOR
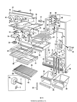
03 - FRESH FOOD COMPARTMENT
04 - ICE CREAM MAKER
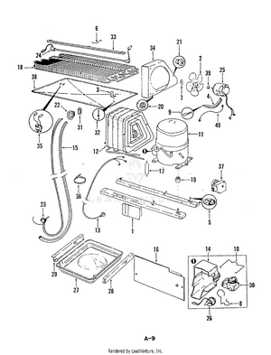
05 - UNIT COMPARTMENT & SYSTEM
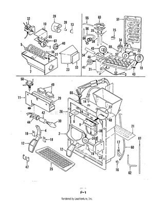
06 - WATER & ICE DISPENSER