No products in the cart.
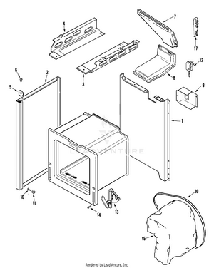
01 - BODY
02 - CONTROL PANEL/TOP ASSEMBLY
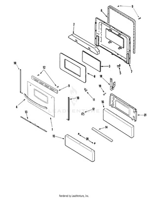
03 - DOOR/DRAWER (ADH ADT)
04 - GAS CONTROLS
05 - OVEN/BASE
06 - SUPPLEMENTAL INFORMATION
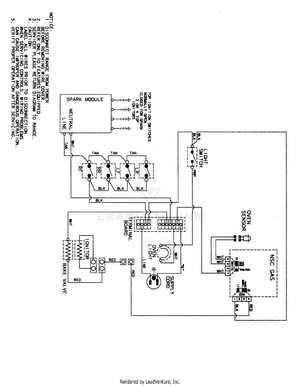
07 - WIRING INFORMATION