No products in the cart.
01 - BODY
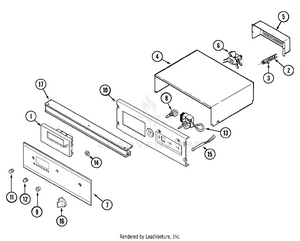
02 - CONTROL PANEL
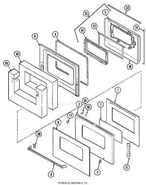
03 - DOOR-LOWER
04 - DOOR-UPPER
05 - OVEN
06 - WIRING INFORMATION