No products in the cart.
01 - BURNER BOX
02 - CONTROL PANEL
03 - TOP ASSEMBLY
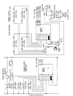
04 - WIRING INFORMATION