No products in the cart.
01 - CONTROL PANEL
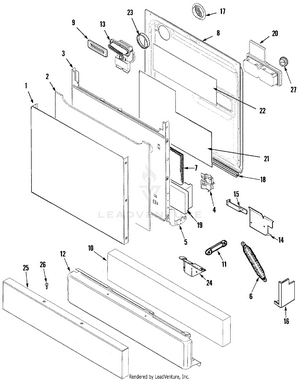
02 - DOOR
03 - INNER TUB
04 - OUTER TUB
05 - PUMP & MOTOR
06 - TRACK & RACK ASSEMBLY
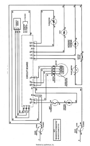
07 - WIRING INFORMATION