No products in the cart.
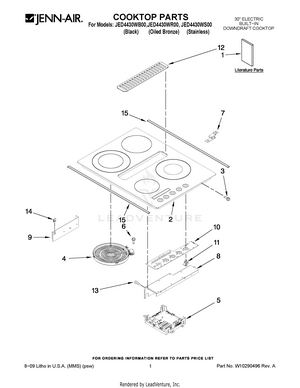
01 - COOKTOP PARTS
02 - BLOWER UNIT PARTS
03 - BURNER BOX ASSEMBLY
04 - OPTIONAL PARTS