No products in the cart.
01 - BASE
02 - CABINET
03 - CLUTCH, BRAKE & BELTS
04 - CONTROL PANEL
05 - TOP
06 - TRANSMISSION
07 - TUB
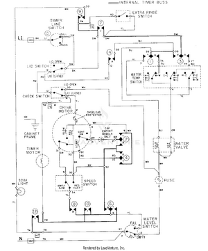
08 - WIRING INFORMATION