No products in the cart.
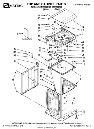
01 - TOP AND CABINET PARTS
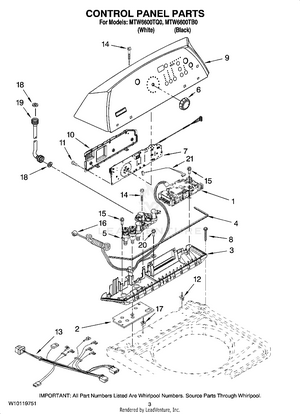
02 - CONTROL PANEL PARTS
03 - MOTOR, BASKET AND TUB PARTS
04 - PUMP PARTS, OPTIONAL PARTS (NOT INCLUDED)