No products in the cart.
01 - TOP AND CABINET PARTS
02 - CONTROLS AND REAR PANEL PARTS
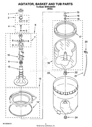
03 - AGITATOR, BASKET AND TUB PARTS
04 - BRAKE, CLUTCH, GEARCASE, MOTOR AND PUMP PARTS
05 - MACHINE BASE PARTS
06 - WIRING HARNESS PARTS
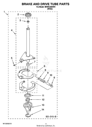
07 - BRAKE AND DRIVE TUBE PARTS
08 - GEARCASE PARTS, OPTIONAL PARTS (NOT INCLUDED)